最新公布!事关河北省2026年度公务员招录考试
2026-03-10 12:33 来源:  北京号
关注

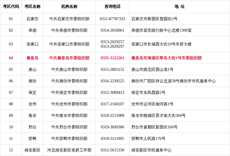
3月6日

河北人事考试网公布了

河北省2026年度公务员录用

省市县乡四级联考

暨选调生招录考试考务

咨询电话和联系地址

有需要的小伙伴赶快收藏

图片


来源:河北人事考试网

编辑:崔婷婷  编审:高源


作者:

秦皇岛发布


打开APP阅读全文
特别声明:本文为北京日报新媒体平台“北京号”作者上传并发布,仅代表作者观点,北京日报仅提供信息发布平台。未经许可,不得转载。